更新时间:2023/11/13
本指南是 《ITMS 全光网管理 - 快速入门指南》的进阶篇,适用于有一定基础的用户阅读和参考。
OLT 1号业务板卡有0-7一共8个PON口,要求:
光猫侧上网业务VLAN(cvlan)统一为41,映射到OLT侧业务VLAN(svlan)根据pon口位置灵活指定:
--PON口0 svlan为QinQ,外层2001,内层随机,范围3000-4000
--PON口1 svlan为QinQ,外层2001,内层1001
--PON口2 svlan为200
--PON口3-7 svlan为300
线路模版VLAN:46(TR069管理)、41(上网)
首先在注册模版中绑定板卡/PON位置:0/1/0-3
规则说明(# 后面为注释):
## 根据板卡/pon口定义svlan(格式:板卡位置=vlan规则)
0/1/0=qinq 2001.3000-4000 # qinq 内层随机
0/1/1=qinq 2001.1001 # qinq 固定
0/1/2=200 # PON口2对应的vlan为200(单层)
0/1/3-7=300 # PON口3-7对应vlan为300
41 svlan # 光猫侧的vlan 41 映射到svlan
将光猫插入不同的PON口,观察注册日志:
DBA模板和流量模板均可以对带宽进行限制,调度顺序:先调度DBA模板,后调度流量模板,取两者最小的。
DBA模板的作用是ONU上行进行限速的,流量限速模版可以同时限制上行和下行。
这里以“流量限速模版”举例说明:
依次创建2个不同的限速模版:
--模版名:5m,带宽 5Mbps(峰值6M),模版ID 10;
--模版名:10m,带宽 10Mbps(峰值12M),模版ID 11。
接着,修改“ONT 注册模版”中,对光猫用户侧的业务VLAN应用限速模版:
OLT 侧业务 VLAN VLAN 映射:
格式:tc <up/down> <光猫侧用户vlan> <流量限速模版名>
关键字tc 表示流量限速,up 表示上行限速,down 表示下行限速
例子:VLAN 100 应用上行模版5m,下行10m模版
tc up 100 5m
tc down 100 10m
光猫注册后,查看业务流信息:
光猫上测试,通过TR069给光猫下发业务(WAN DHCP,VLAN100),端口绑定WiFi:
手机连接光猫WiFi,运行 SpeedTest 测速:
环境:
--OLT: 华为MA5800-X17 (配 H901XEHD 万兆业务板)
--光猫:华为 HN8145X6-EPON / 10G EPON
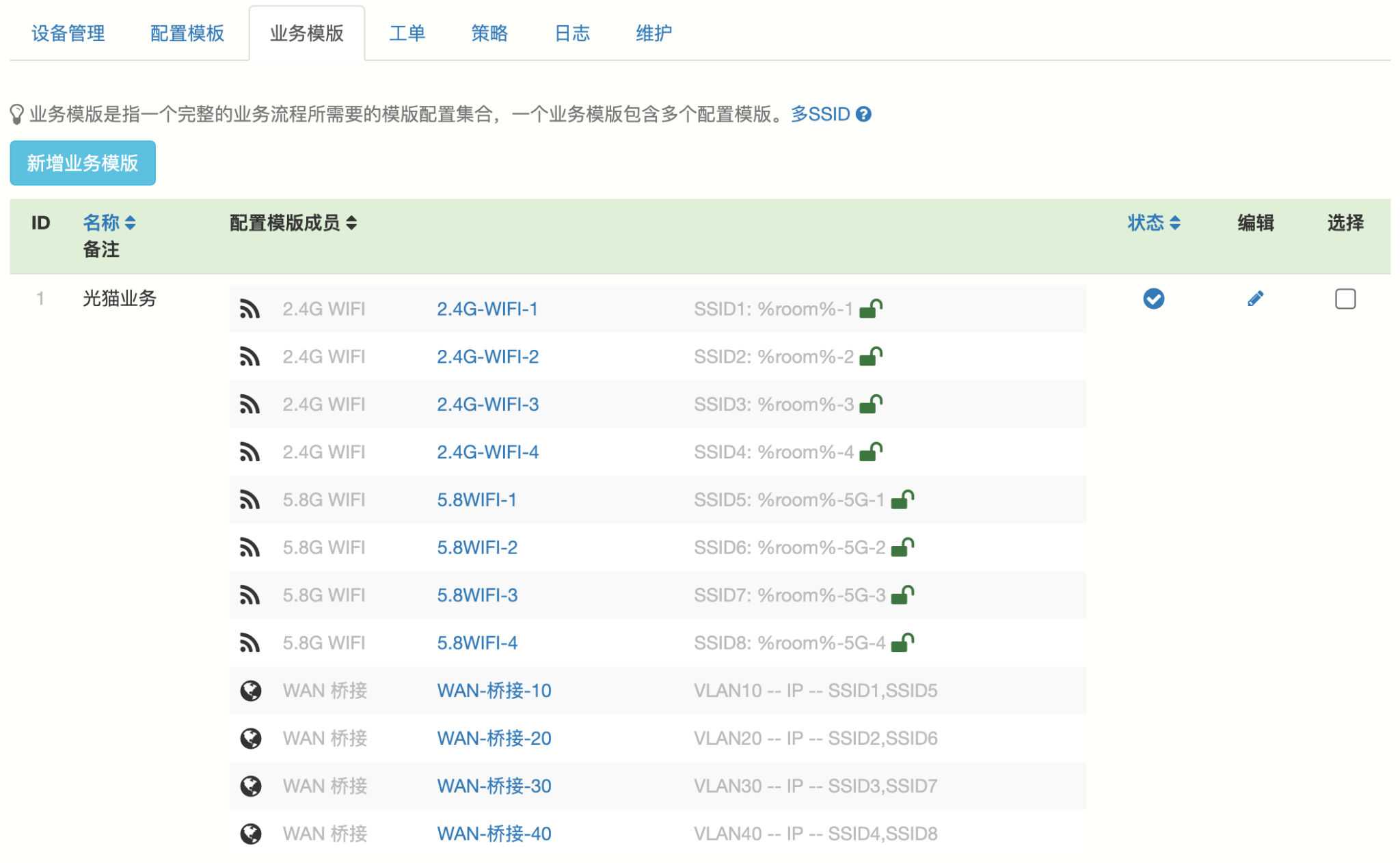
光猫支持2.4G+5G双频WIFI,2.4G支持4个SSID(SSID1~SSID4),5G支持4个SSID(SSID5~SSID8),一共8个SSID。
需求: 光猫上4个WAN桥接业务,对应4组VLAN,每组VLAN绑定一个2.4G+5G SSID
--VLAN10: SSID1 + SSID5 172.16.10.x
--VLAN20: SSID2 + SSID6 172.16.20.x
--VLAN30: SSID3 + SSID7 172.16.30.x
--VLAN40: SSID4 + SSID8 172.16.40.x
最终实现效果:连接不同VLAN的SSID时,获得对应网段的IP
依次建立4个2.4G WIFI 模版和4个5G WIFI 模版:
查看WAN连接信息:
环境描述:
ITMS 安装在云端(如阿里云),同时充当PPTP/L2TP VPN服务器、TR069服务器,以下简称云端。
本地路由器通过VPN连入云端,通过云端统一管理光猫/OLT,下发业务等。
部署要点:
--本地路由开DHCP服务,tr069 vlan分配的DNS指向云端
--云端加静态路由,访问光猫走VPN;开DNS重定向(重定向ACS域名)
--本地路由无需开DNS重定向,无需开TR069服务
拓扑图:
1. 启用 PPTP/L2TP VPN 服务,使用本地认证模式,如下:
VPN 地址段:10.0.0.0/23
VPN 服务端(网关)使用第一个IP 10.0.0.1,客户端IP范围: 10.0.0.2~10.0.1.254
2. 给VPN客户端分配静态IP
应用-》本地认证账号-〉添加 vpn账号,并分配固定ip,如 10.0.0.2:
重定向到 VPN 网关IP(10.0.0.1)
本地路由DHCP服务器中DNS设为VPN网关IP:10.0.0.1
云端下发ACS地址建议使用域名,便于后期维护。
如果后期需要切换到本地管理,只需更改本地路由DHCP分配的DNS,重启光猫即可。
⚠️注:此功能仅专业版授权支持
将 ACS 地址设为 x.x.x.x,表示不下发 ACS 地址,即不改变光猫里内置的ACS地址。
光猫全部上线,且下发业务后执行:
测试完成后,下载老化测试报告(excel格式)
报告分3个表格:
- 老化测试信息表:老化测试相关的指标,测试结果统计。
- 老化CPE信息表:光猫的详细信息,包括型号、设备信息、软硬件版本、运营商、区域、光模块状态(收发功率/电流/电压/温度)、LAN端口、SIP电话状态等。
- 老化日志信息表:老化测试时光猫汇报信息的详细日志记录
1. 老化测试前,确认所有光猫全部在线,测试开始后,请勿增减光猫。
2. 测试过程中,请勿执行影响光猫正常运行的操作。如:手动下发业务,重启光猫等。
3. 一轮老化测试后,光猫全部断电离线后,先“清空设备信息”,再进行下一次老化测试:
4. 老化测试结束后,复位清零,让光猫恢复出厂设置,同时ACS不再处理光猫的上报请求。
⚠️注:此功能仅专业版授权支持
在设备列表下方显示TR069属性目录树:
节点名右侧的0表示该属性不可修改,1表示可以修改。
首次查询,可以点击“递归查询所有属性名”,大约需要30s左右。
一般光猫的根节点数量在20~30,所有节点属性名总数量在2000~3000左右。
找到对应的属性名后,可以自定模版下发修改其值:
自定义TR069 属性值每行格式:a = b (空格可选)
例子:InternetGatewayDevice.X_CMCC_UserInfo.Password = 123456
或 X_CMCC_UserInfo.Password=123456
主接口配置IPv6地址:
VLAN 接口配置IPv6 地址:
⚠️注:根据需要配置IPv6 地址,无需全部配置,以下为本例使用的配置:
--2001:db8:46::1 VLAN 46 接口
--2001:db8:1::1 LAN 主接口
IPv6 地址范围 1000-ffff,可分配约6万多个地址,自动根据接口的地址计算:
|
接口 |
IPv6地址 |
DHCP分配地址池范围 |
|
lan2 |
2001:db8:1::1 |
2001:db8:1::1000 ~ 2001:db8:1::ffff |
|
lan2.46 |
2001:db8:46::1 |
2001:db8:46::1000 ~ 2001:db8:46::ffff |
一个域名可以同时重定向到 IPv4和IPv6 地址,逗号分隔即可:
需求:
光猫4个LAN口,透传所有VLAN,同时包括untag VLAN(不带vlan的数据)。
比如:LAN1口接AP(不带VLAN),LAN2口接交换机(带VLAN)
解释:
TR069里面的vlan1表示vlan透传模式,OLT/交换机上面的vlan1是无vlan(untag vlan)
本功能在移动H2-2/H2-3光猫上测试通过。
untag VLAN需要在 OLT 上映射为其他vlan,如vlan888,同时对应上联口设置缺省VLAN
⚠️注:如果不需要透传 untag VLAN,此步骤可以省略。
线路模版中VLAN包括所有业务 vlan,及 untag
添加完成如下:
将不带vlan的数据映射为vlan888:
映射规则:
⚠️ 此功能需要光猫支持VLAN透传,请登录光猫确认是否支持。
外层3001 内层1500-3000,光猫侧1015
1. 新增QinQ VLAN(外层),并透传到上联口
确认添加成功:
2. 修改注册模版,添加qinq映射规则
修改后如下:
线路模版中只需包含用户侧vlan,无需加外层vlan或内层vlan:
3. 光猫注册
查看业务VLAN情况:
注:如果之前光猫注册过,需删除重新注册
OLT 通过上联口将带有双层VLAN的数据转发到路由器处理
TR069 WAN 模版中业务VLAN对应光猫用户侧VLAN 1015
测试业务:
部署要点:
ITMS:
--关闭防火墙,启用DNS服务
--开启DNS 重定向 ( .edatahome.com =》 192.168.100.246)
--关闭DHCP服务
NE40路由器:vlan 46 开DHCP服务,DNS服务器:192.168.100.246
ITMS 全光网管理 - 进阶指南




























































